Neues Patent: Apple Watch könnte künftig den Blutdruck messen

Smartwatch
Stefan

Apple könnte seine Smartwatch in den nächsten Jahren um ein weiteres, nützliches Health-Feature erweitern. Eine aktuelle Patentschrift beschreibt, wie die Apple Watch den Blutdruck ohne weiteres Zubehör messen kann.

Neues Patent: Apple Watch könnte künftig den Blutdruck messen

Als Tim Cook die Apple Watch 2014 im Rahmen des Special Events als "One more Thing" vorstellte, konnte man noch nicht absehen, wie sich die Smartwatch in den folgenden Jahren entwickeln würde. Vor allem was die Gesundheit betrifft, hat die Apple Watch im Lauf der Zeit viele neue Funktionen erhalten.

Schon seit der Series 0 kann man mit der Apple-Smartwatch seinen Puls messen. Mit der Series 4 wurde der Funktionsumfang um das 1-Kanal-Elektrokardiogramm ergänzt. Darüber hinaus bot die Apple Watch Series 4 eine Erkennung für Stürze mit der Option, auf Wunsch automatisch den Notruf anzuwählen. Mit entsprechendem Zubehör kann man sogar den Blutdruck messen.

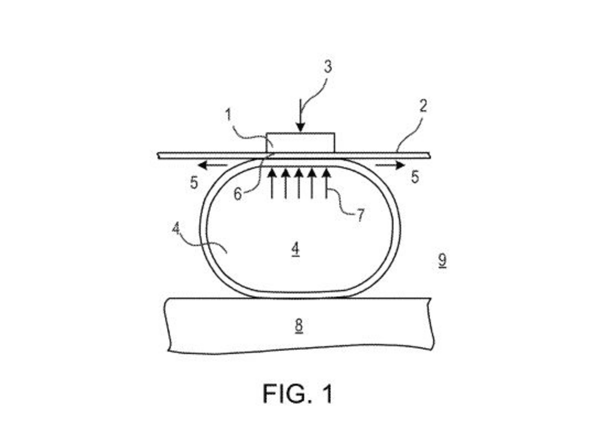
Die Blutdruckmessung könnte man künftig sogar ohne zusätzliches Zubehör durchführen. Das US Patent and Trademark Office hat Apple nun ein Patent mit der Bezeichnung "Pressure measurement designs" zugesprochen, in welchem das Messen des Blutdrucks mit einem Gerät beschrieben wird, das man am Handgelenk trägt.

Es ist durchaus denkbar, dass die dafür notwendigen Sensoren in Form von Elektroden in die Geräterückseite der Apple Watch oder auch in das Armband integriert werden. Diese ermitteln den Blutdruck zusammen mit dem Puls bzw. dem Herzschlag über die Blutgefäße.

In vielen Fällen landen Patentanmeldungen wieder in der Schublade und schaffen es nie in ein Endgerät, das auf dem Massenmarkt angeboten wird. Wir können uns aber gut vorstellen, dass die Blutdruckmessung in einem künftigen Modell der Apple Watch zum Einsatz kommt.

Bisher keine Kommentare
Kommentieren
Als Amazon-Partner verdiene ich an qualifizierten Verkäufen.
Öffne AppTicker-News
in der AppTicker-News App
im Browser